Nhẫn thông minh
Apple đăng ký và được cấp sáng chế về "thiết bị dạng nhẫn đeo được" lần đầu vào 2015. Kể từ đó, công ty liên tục nộp đơn bổ sung một loạt tính năng khác của nhẫn, như có thể đeo vào ngón tay và điều khiển các thiết bị như TV, điện thoại...

Ý tưởng nhẫn thông minh Apple. Ảnh: Phonearena.
Trong hồ sơ đệ trình lên Văn phòng Nhãn hiệu và Sáng chế Mỹ (USTPO) hồi tháng 7, Apple mô tả chiếc nhẫn là "thiết bị không dây có thể sử dụng trên một hoặc nhiều ngón tay, gồm đầu vào cảm ứng, một hoặc nhiều bộ xử lý/bộ nhớ, chương trình cài sẵn để thực thi các tác vụ nhất định".
Một số nguồn tin cho biết Apple đang phát triển sản phẩm đeo tay, gọi là Apple Ring hoặc iRing có màn hình cảm ứng, dùng chip do công ty tự sản xuất, có thể kết hợp với thiết bị thông minh khác để thực hiện một số tính năng nhất định.
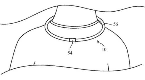
Trang sức thông minh

Mô tả vòng đeo cổ thông minh của Apple. Ảnh: Apple/USTPO.
Apple cũng mới nhận được bằng sáng chế liên quan đến "vòng đeo với vi mạch điện được nhúng bên trong" vào giữa tháng 11. Trong hồ sơ nộp lên USTPO, công ty mô tả về "một thiết bị điện tử có hình dạng giống vòng, dạng dải hoặc chuỗi, có thể được quấn quanh, buộc vào, treo vào hoặc gắn vào người, động vật hoặc đồ vật".
Vòng đeo có thể được dùng để xác định và lưu trữ thông tin người đeo, như vị trí, hoạt động, nhận dạng, thông tin y tế, sinh trắc học. Sản phẩm có thể được sản xuất dưới dạng đeo vào cổ, cổ tay hoặc làm móc chìa khóa.

Mô tả móc khóa thông minh của Apple. Ảnh: Apple/USTPO.
Kính mắt bảo mật
Bằng sáng chế mới của Apple mô tả thiết bị có tên Privacy Eyewear (Kính bảo mật), với chức năng duy nhất là đảm bảo quyền riêng tư. Chỉ người đeo kinh mới có thể xem nội dung trên màn hình iPhone, trong khi người xung quanh sẽ không thể thấy những gì smartphone này hiển thị.

Mô tả kính mắt bảo mật của Apple. Ảnh: Apple/USPTO
Theo hồ sơ sáng chế được Apple gửi lên USTPO, iPhone sẽ được bổ sung chức năng nhận dạng kính, quét khuôn mặt và các hệ thống quét nâng cao khác để nhận diện chủ nhân của nó. Một số trang công nghệ dự đoán với kính mới, Face ID sẽ mở rộng chức năng trong tương lai.
Kính thông minh
Apple từ lâu được cho là đang phát triển nhiều mẫu kính thông minh, đảm nhận các chức năng khác nhau. Hồi tháng 2, công ty nộp 3 đơn xin cấp bằng sáng chế lên USPTO, mô tả công nghệ có thể được dùng trong kính thực tế ảo của hãng thời gian tới. Mẫu kính có tính năng nhận dạng và phân tích hình ảnh, như đo độ tươi thực phẩm hay đánh giá độ chín, hàm lượng calo... của đồ ăn.
Trong khi đó, trang The Information cho biết Apple đang thử nghiệm kính dạng thực tế hỗn hợp. Thiết bị được trang bị hai màn hình 8K và các camera ở mặt ngoài để theo dõi chuyển động tay cũng như quay hình ảnh xung quanh. Apple còn đưa công nghệ theo dõi chuyển động mắt vào trong kính để điều chỉnh chất lượng hiển thị từng phần của màn hình, nhằm tối ưu hóa thời lượng pin. Trang Apple Insider dự đoán kính có giá hơn 1.000 USD.

Thiết kế kính thực tế ảo của Apple theo The Information.
Tuy nhiên, sản phẩm người dùng mong chờ nhất là mẫu kính thông minh được cho là có tên Apple Glass. Theo "chuyên gia tin đồn" Jon Prosser, Apple Glass có thiết kế thời trang, trông như kính mắt thông thường và hoạt động tương tự đồng hồ Apple Watch. Kính sẽ tích hợp cảm biến Lidar và hỗ trợ cả hai chế độ AR, VR.
Prosser cho biết đã nhìn thấy nguyên mẫu Apple Glass với khung nhựa, nhưng không loại trừ khả năng sẽ có bản sử dụng kim loại khi ra mắt chính thức. Ông dự đoán kính có giá bán lẻ 499 USD và ra mắt trong năm 2023.
iPhone hoàn toàn bằng kính
Sáng chế Apple vừa nhận được ngày 18/11 cho thấy công ty đang lên ý tưởng cho một chiếc smartphone làm hoàn toàn bằng vỏ kính. Trong đó, các tấm kính được chồng lên nhau, uốn cong ở mép viền và có các đường cắt để lấy chỗ cho micro, loa...

Sáng chế về iPhone hoàn toàn bằng kính. Ảnh: Apple/USPTO.
Theo Apple, các điện thoại có thể đặt cạnh nhau thành một khối liền mạch. Người dùng có thể chuyển đổi ứng dụng hoặc file nội dung từ iPhone này sang iPhone khác chỉ bằng thao tác kéo thả.
Không chỉ iPhone, Apple còn có tham vọng tạo Apple Watch, iPad, máy Mac... với kết cấu vỏ kính và tính năng tương tự. Theo Macrumors, nếu những sản phẩm này ra mắt, việc trải nghiệm hệ sinh thái thiết bị Apple sẽ được nâng lên tầm cao mới.
Bảo Lâm (tổng hợp)
Nguồn: vnexpress.net
© 2025 | Tạp chí NƯỚC ĐỨC